ГОСУДАРСТВЕННЫЙ ВСЕСОЮЗНЫЙ ДОРОЖНЫЙ
НАУЧНО-ИССЛЕДОВАТЕЛЬСКИЙ ИНСТИТУТ
(СОЮЗДОРНИИ)
РЕКОМЕНДАЦИИ
ПО ПРИМЕНЕНИЮ КРЕМНИЙОРГАНИЧЕСКИХ ДОБАВОК
ПРИ СТРОИТЕЛЬСТВЕ ЦЕМЕНТО Б ЕТОННЫХ
ПОКРЫТИЙ ДОРОГ И АЭРОДРОМОВ
Балашиха Московской области 1970
РЕКОМЕНДАЦИИ ПО ПРИМЕНЕНИЮ КРЕМНИЙОРГАНИЧЕСКИХ ДОБАВОК ПРИ СТРОИТЕЛЬСТВЕ ЦЕМЕНТОБЕТОННЫХ ПОКРЫТИЙ ДОРОГ И АЭРОДРОМОВ. Союздорнии, Балашиха-6 Московской обл., 1970.
Приведены основные свойства дорожного бетона с добавками кремнийорганических соединений полигидросилоксанового типа (ГКЖ-94) и силиконатов натрия (ГКЖ-10, ГКЖ-11), их преимущество перед воздухововлекающими добавками: СНВ, мылонафтом, асидол-мылонафтом, применяемыми в настоящее время для повышения долговечности дорожного бетона; требования к добавкам; технология изготовления бетонов с добавками кремнийорганических соединений; описана технология приготовления эмульсии ГКЖ-94 на различных эмульгаторах в мешалках непрерывного действия ЦНИИС и периодического Союздорнии; даются рекомендации по эффективному применению добавок с учетом климатических факторов (среднемесячной температуры наиболее холодного месяца, количество дней с гололедом); требования по технике безопасности. Приведено количество дней с гололедом в областях и краях РСФСР, двух прибалтийских республиках и БССР.
Табл. - 1, рис. - 2.
Предисловие
«Рекомендации по применению кремнийорганических добавок при строительстве цементобетонных покрытий дорог и аэродромов» составлены на основании результатов лабораторных исследований и полевых опытно-экспериментальных работ.
В «Рекомендациях» приведены основные свойства дорожных бетонов с добавками кремнийорганических соединений, требования к добавкам, технология приготовления бетонов с добавками кремнийорганических соединений, область применения добавок, а также требования по технике безопасности. Использованы результаты исследований НИИЖБ и ЦНИИС Минтрансстроя СССР.
«Рекомендации» составили канд. техн. наук А.Н. Защепин, инж. Н.Н. Янбых.
Все замечания и предложения по «Рекомендациям» просьба направлять по адресу: Балашиха-6 Московской обл., Союздорнии.
ЗАМ. ДИРЕКТОРА СОЮЗДОРНИИ
кандидат технических наук
Н.В. Горелышев
Общие положения
Хлористые соли, применяемые для удаления гололеда, образуют на поверхности цементобетонных покрытий растворы 3 - 5 %-ной концентрации, которые в сочетании с переменным замораживанием и оттаиванием вызывают интенсивное шелушение покрытий. Шелушение бетона обычно наступает после 25 - 30-кратной россыпи солей на покрытие.
Для предотвращения разрушения бетона от совместного многократного воздействия растворов хлористых солей и мороза широко применяют воздухововлекающие добавки типа СНВ (смола нейтрализованная воздухововлекающая - абиетат натрия), мылонафт и др. Применением воздухововлекающих добавок количество воздуха в бетоне в виде замкнутых мелких пор доводят до 4,5-5 %. Этим самым увеличивают стойкость бетона против агрессивного воздействия растворов хлористых солей и мороза в 5 - 6 раз.
Увеличение количества воздуха до 4,5 - 5 % может привести к снижению механической прочности бетона при сжатии на 20 - 25 % и на растяжение при изгибе до 15%.
Прочность бетона удается повысить за счет пластифицирующего действия воздухововлекающих добавок и уменьшения в бетонной смеси песка на 2 - 3 %, однако полностью восстановить прочность бетона при одном и том же расходе цемента, используя воздухововлекающие добавки, не всегда возможно. Поэтому исследовали дорожный бетон с добавками гидрофобных кремнийорганических жидкостей, которые существенно увеличивают стойкость бетона против агрессивного воздействия хлористых солей и мороза и одновременно не вызывают снижения его механической прочности.
Эффективные результаты получены при применении гидрофобной кремнийорганической жидкости - полигидросилоксана, - выпускаемой промышленностью под индексом ГКЖ-94. При введении ГКЖ-94 в бетонную смесь в количестве 0,1 - 0,15 % от веса цемента существенно повышается морозостойкость бетона при многократном действии на него хлористых солей и мороза.
Действие этой добавки на бетон существенно отличается от действия воздухововлекающих добавок. При введении в бетон воздухововлекающих добавок типа СНВ и мылонафта вовлеченный воздух стабилизируется на зернах мелкого заполнителя (песка), ослабляя при этом контактную зону. При введении же добавки ГКЖ-94 происходит химическое взаимодействие добавки с продуктами гидролиза и гидратации цемента. За счет выделения газа образуется мелкопористая структура цементного камня с объемом пор не более 1 - 2 %, при этом цементный камень с такой структурой не оказывает влияния на прочность бетона. Добавка ГКЖ-94 имеет еще одно важное преимущество перед СНВ. При применении воздухововлекающих добавок СНВ на количество вовлекаемого в бетонную смесь воздуха, кроме дозировки добавки, влияют еще многие факторы: подвижность бетонной смеси, расход цемента в смеси, зерновой состав мелкого заполнителя, тип бетономешалки, время перемешивания смеси, температура, жесткость воды, продолжительность и интенсивность уплотнения и др.
При применении же газообразующей добавки ГКЖ-94 на количество выделенного газа в бетоне, кроме дозировки добавки, влияют только расход цемента и температура смеси. Действие на бетон добавок ГКЖ-10 и ГКЖ-11 не отличается от действия воздухововлекающих добавок СНВ и мылонафта, но они обладают ограниченным воздухововлечением (5 - 6 %), что имеет важное значение для получения однородного по прочности и морозостойкости бетона (по сравнению с добавками СНВ, при введении которых количество вовлеченного воздуха может достигать 8 - 9 %, а в подвижных бетонных смесях с осадкой конуса 5 - 6 см и более).
Несмотря на существенные преимущества кремнийорганических добавок перед воздухововлекающими, их широкое применение в настоящее время ограничено из-за высокой стоимости. При существующих ценах на ГКЖ их применение целесообразно только в отдельных случаях, там, где бетон подвергается большому количеству циклов замораживания-оттаивания в растворах хлористых солей или где снижение прочности бетона может потребовать увеличения толщины покрытия.
Основные строительные свойства бетонов с добавками кремнийорганических соединений
1 . Добавки ГКЖ-10, ГКЖ-11, ГКЖ-94 замедляют твердение бетонов в ранние сроки, особенно в первые сутки, но к 28-суточному возрасту прочность бетонов сравнивается с прочностью бетона без добавок.
2 . Добавки ГКЖ-10, ГКЖ-11, ГКЖ-94 оказывают пластифицирующее действие на бетонные смеси, снижают ее расслаивание во время транспортирования и укладки, повышают водонепроницаемость бетона. При сохранении заданной подвижности смеси введение добавок ГКЖ-11 и ГКЖ-94 позволяет уменьшать величину В/Ц до 0,03, а при добавке ГКЖ-10 до 0,05.
3 . Добавка ГКЖ-94 значительно повышает морозостойкость бетона нормального твердения и подвергнутого тепловлажностной обработке, позволяет получать высокопрочные (марки «400» и более) и морозостойкие (марки «200» и более при испытании в растворах хлористых солей) бетоны (см. таблицу).
4 . Добавки ГКЖ-10, ГКЖ-11 повышают морозостой кость бетонов нормального твердения и позволяют получать по прочности бетоны марки «350» и морозостойкости при испытании в растворах хлористых солей бетоны марки «150» - «200».
Основные строительно-технические свойства бетонов с добавками кремнийорганических соединений.
| Вид кремнийорганических соединений | Рекомендуемые дозировки добавок от веса цемента, % | Марка бетона | Содержание воздуха в бетоне, % | Содержание газа в бетоне, % | |
| по прочности при сжатии, кг/см2 | по морозостойкости при испытании в растворах хлористых солей | ||||
| ГКЖ-94 | 0,1 - 0,2 (100 %-ную жидкость) | 400 - 500 | 200 и более | - | 1 - 2 |
| ГКЖ-10 | 0,1 - 0,2 (на сухое вещество) | 350 | 200 | 3 - 5 | - |
| ГКЖ-11 | То же | 350 | 200 | 3 - 5 | - |
5 . Добавка ГКЖ-94 в дорожный бетон на крупном заполнителе из известняка увеличивает его морозостойкость при испытании в растворах хлористых солей. Поэтому при строительстве дорожных покрытий из бетона на известняковом щебне следует, как правило, применять добавку ГКЖ-94.
Требования к добавкам
6 . Гидрофобизирующая и кремнийорганическая жидкость ГКЖ-94 должна соответствовать ГОСТ 10834 -64 и удовлетворять следующим требованиям:
- цвет: от бесцветного до бледно-желтого;
- содержание активного водорода в весовых процентах - 1,3 - 1,42;
- вязкость кинематическая в ССТ при 20 ° С в пределах 45 - 200;
- рН не менее 6.
ГКЖ-94 поставляется заводами в виде 100 %-ной жидкости, не смешивающейся с водой, в стеклянной таре - бутылях весом 20 кг с плотно притертыми пробками. Каждая партия кремнийорганической жидкости сопровождается соответствующим паспортом. До употребления жидкость необходимо хранить в крытых, не освещаемых солнцем складских помещениях при положительной температуре от 0 до 20 ° С (под действием солнечных лучей может произойти полимеризация жидкости). Срок хранения жидкости в нормальных условиях 6 месяцев и более.
7 . Кремнийорганические жидкости ГКЖ-10 ж ГКЖ-11 в соответствии с техническими условиями МР ТУ 6-02-271-63 должны удовлетворять следующим требованиям:
- цвет: от желтого до светло-коричневого (осадка не допускается);
- содержание сухого остатка в весовых процентах 30 ± 5;
- щелочность (в пересчете на Na ОН ) в весовых процентах 15 ± 2;
- содержание кремния в весовых процентах не менее 4;
- плотность 1,19 ± 0,02 г/см3.
Поставляются заводами в виде водно-спиртовых растворов 30 %-ной концентрации этил и метилсиликонаты натрия. До употребления жидкость хранят в металлической таре при температуре от 0 до 30 ° С.
Технология приготовления бетонных смесей с добавками кремнийорганических соединений
8 . Добавки кремнийорганических соединений вводят в бетонные смеси с водой затворения.
9 . Добавку ГКЖ-94 вводят в бетонную смесь в виде 50 %-ной водной эмульсии. Эмульсию приготавливают в быстроходных смесителях при 8000 - 12000 об/мин (возможно применение электросмесителей с меньшим числом оборотов, но производительность значительно снижается). Эмульсии рекомендуется готовить в диспергаторе периодического действия, разработанном ПКБ Союздорнии по образцу выпускаемого в ГДР производительностью 40 - 50 л/час. Рекомендуемый диспергатор был опробован в производственных условиях при строительстве участков цементобетонного покрытия с кремнийорганическими добавками на дороге Москва-Калуга. При расходе эмульсии 0,7 - 1,0 л/на 1 м3 бетона одним диспергатором за смену можно приготовить эмульсии на 300 - 400 м3 бетона. При небольших объемах бетона для приготовления эмульсии рекомендуется использовать разработанную ЦНИИС мешалку непрерывного действия производительностью 20 л/час.
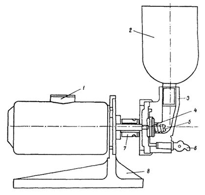
10 . Эмульсию в диспергаторе Союздорнии (рис. 1 ) приготавливают следующим образом: в воронку вливают заранее приготовленный раствор эмульгатора, затем включают электросмеситель, вливая в него маслянистую полигидросилоксановую жидкость 100 %-ной концентрации. Соотношение масла к раствору эмульгатора 1:1.
Для получения однородной и стабильной эмульсии рекомендуется полученный продукт пропускать через эмульгатор не менее 5 раз. При приготовлении эмульсии раствор эмульгатора и жидкость ГКЖ-94 должны быть абсолютно чистыми, без посторонних примесей (кусков бумаги, щепы и других предметов), так как это может привести к порче смесителя.
1 - электромотор УЛ-62 №-0,270 квт, 8000 об/мин; 2 - воронка; 3 - корпус; 4 - турбинка (смеситель); 5 - шнек; 6 - кран; 7 - гайка; 8 - стойка
Готовую эмульсию сливают в тару, а смеситель тщательно промывают.
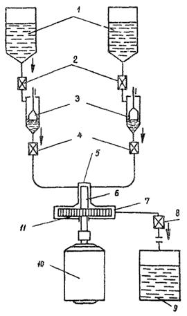
11 . Эмульсии в мешалке непрерывного действия ЦНИИС (рис. 2 ) приготовляют следующим образом: жидкость ГКЖ-94 и заранее приготовленный раствор стаби лизатора в соотношении 1:1 по весу заливают в загрузочные бачки. Из бачков через вентили жидкости поступают в мерные емкости, имеющие поплавковые указатели уровня, и из них через вентили в приемную камеру, где шнеком предварительно смешиваются компоненты эмульсии и смесь подается в мешалку с 8000 об/мин. Требуемую дисперсность эмульсии получают регулированием зазоров между диском и крышкой камеры и временем нахождения эмульсии в мешалке. Готовую эмульсию сливают в приемный бак.
12 . Приготовление эмульсии ГКЖ-84 необходимо проводить под контролем лаборатории.
13 . Однородность эмульсии и отсутствие механических примесей определяют фильтрованием под вакуумом через матерчатый фильтр на воронке Бюхнера. После фильтрования не должно оставаться посторонних включений.
1 - загрузочный бак; 2 - вентиль; 3 - мерная емкость с поплавковым указателем уровня; 4 - вентиль; 5 - приемная камера; 6 - шнек; 7 - крышка; 8 - вентиль; 9 - приемный бак; 10 - электродвигатель УЛ-072 - 8000 об/мин; 11 - диск
Стабильность эмульсии проверяют следующим методом: в мерный цилиндр наливают 10 см3 эмульсии и 100 см3 воды. Содержимое цилиндра тщательно перемешивают в течение 1 мин и оставляют в покое на 2 часа. Эмульсия считается стабильной, если в течение этого времени в ней не наблюдается расслаивания.
Перед применением эмульсии необходимо проверять ее стабильность.
14 . Качество эмульсии во многом зависит от вида применяемого эмульгатора. Эмульсии, приготовленные на эмульгаторах сольвар, сопал, ОС-2, очень устойчивы и могут храниться в течение нескольких месяцев, не расслаиваясь.
Эмульсии, приготовленные на желатине, неустойчивы особенно при температуре 35 - 40 ° С. Их стабильностьх) всего несколько дней, и поэтому их необходимо использовать сразу же после приготовления.
х) Под стабильностью понимается время, в течение которого эмульсия полностью сохраняет свои свойства, не расслаивается.
При расходовании эмульсии не сразу, а через некоторое время (месяц-два) после приготовления рекомендуется применять эмульгаторы, опробованные ЦНИИС, ОС-2хх), сольвар, сопал.
хх) ОС-2 выпускает лакокрасочный завод на станции Долгопрудная Московской обл., сольвар - ереванский завод «Поливинилацетат».
Стабильность эмульсий, приготовленных на указанных стабилизаторах, несколько месяцев и во многом зависит от температуры. С повышением температуры стабильность эмульсии резко понижается. До приготовления рабочих растворов эмульсию рекомендуется хранить при температуре от 0 до +20 ° С в таре из белой жести.
15 . Растворы эмульгаторов готовят следующим образом: к отмеренному объему холодной воды добавляют эмульгаторы: желатин из расчета получения 1 %-ного, сопал - 2 %-ного, сольвар - 4 %-ного растворов. После введения эмульгаторов воду подогревают до температуры 60 - 70 ° С и поддерживают ее до полного растворения их, затем растворы охлаждают до комнатной температуры. При приготовлении раствора эмульгатора из сольвара для лучшего растворения рекомендуется его предварительно замочить на сутки в воде.
16 . Эффективность применения добавки ГКЖ-94 во многом зависит от качества эмульсии. При применении некачественной эмульсии (частично распавшейся) эффективность добавки резко снижается.
17 . Добавки ГКЖ-10 и ГКЖ-11 вводятся в бетонные смеси с водой затворения в виде исходных водно-спиртовых растворов 30 %-ной концентрации. Порядок приготовления бетонной смеси обычный.
Область применения добавок
18 . Учитывая высокую стоимость добавок (удорожание 1 м3 дорожного бетона при оптимальных дозировках колеблется с добавкой ГКЖ-94 от 1 руб. 68 коп. до 3 руб. 60 коп., с ГКЖ-10 от 70 коп. до 1 руб. 40 коп., с ГКЖ-11 - от 65 коп. до 1 руб. 30 коп.), в настоящее время рекомендуется следующее применение:
ГКЖ-94 в бетонных и железобетонных конструкциях, к которым предъявляются повышенные требования по морозостойкости и прочности:
- при строительстве цементобетонных покрытий в районах со среднемесячной температурой воздуха наиболее холодного месяца ниже -20 ° С;
- при строительстве отдельных участков цементобетонных покрытий в районах, где количество дней с гололедом превышает 40 в год;
- на подъездах к крупным городам, взлетно-посадочных полосах (на аэродромах), где наряду с высокой морозостойкостью требуется высокая прочность бетона;
- на подходах к крупным искусственным сооружениям, затяжных спусках (подъемах), виражах, пересечениях дорог в одном уровне и других участках дорог, где по условиям безопасности движения больше всего рассыпают хлористые соли во время гололеда;
- при строительстве однослойных дорожных и аэродромных покрытий из бетона на известковом щебне.
ГКЖ-10 и ГКЖ-11 в бетонных и железобетонных конструкциях, к которым предъявляются умеренные требования по морозостойкости:
- при строительстве цементобетонных покрытий в районах со среднемесячной температурой наиболее холодного месяца от -10 до -20 ° С и количеством дней с гололедом в году от 20 до 30. Применение добавок ГКЖ-10 и ГКЖ-11 целесообразно при устройстве цементобетонных покрытий в осенне-весеннее время при температуре воздуха от 0 до -3 ° С (при введении в бетон добавки данного типа понижают температуру замерзания воды).
19 . Учитывая высокую эффективность кремнийорганической добавки ГКЖ-94 в повышении морозостойкости бетона при воздействии хлористых солей и мороза, ее применение может быть также рекомендовано:
- при устройстве проезжей части мостов из цементобетона без применения оклеечной изоляции;
- при ремонте цементобетонных покрытий дорог и аэродромов цементопесчаными смесями;
- при изготовлении бортовых камней, тротуарных блоков, железобетонных перил, парапетов, лотков и других элементов мостов, изготавливаемых в пропарочных камерахх), которые в процессе эксплуатации могут подвергаться воздействию растворов хлористых солей и мороза.
х) При изготовлении железобетонных элементов с добавкой ГКЖ-94 в пропарочных камерах следует руководствоваться «Рекомендациями по применению бетонов и растворов с добавками полимеров», разработанными НИИЖБом.
20 . Количество дней с гололедом в краях и областях РСФСР, двух прибалтийских республиках и БССР приведено в приложении.
Техника безопасности
21 . Жидкость ГКЖ-94 не имеет запаха, не выделяет при хранении вредных газов и паров - не токсична. Работы с добавкой ГКЖ-94 не требуют специальных мер предосторожности. Техника безопасности работ такая же, как при приготовлении бетона в обычных заводских условиях.
22 . При работе с добавками ГКЖ-10, ГКЖ-11 должны соблюдаться следующие правила техники безопасности:
- рабочие должны быть обеспечены резиновыми перчатками и фартуками;
- растворы ГКЖ-10, ГКЖ-11 не должны попадать на открытые участки кожи; в случае попадания на кожу их необходимо смыть струей воды.
Приложение Количество дней с гололедом в годух) в краях и областях РСФСР, двух прибалтийских республиках и БССР
| № по пор. | Область, край | Среднее число случаев гололеда в году | Максимальное число случаев гололеда в году |
| РСФСР | |||
| 1 | Алтайский край | 15 | 25 |
| 2 | Амурская обл. | 6 | - |
| 3 | Архангельская обл. | 16 | 20 |
| 4 | Астраханская обл. | 8 | - |
| 5 | Башкирская АССР | 15 | 23 |
| 6 | Белгородская обл. | 30 | 48 |
| 7 | Бурятская АССР | - | 27 |
| 8 | Брянская обл. | 14 | 31 |
| 9 | Волгоградская обл. | 15 | 30 |
| 10 | Вологодская обл. | 6 | 10 |
| 11 | Воронежская обл. | 28 | 40 |
| 12 | Владимирская обл. | 7 | - |
| 13 | Горьковская обл. | 52 | 63 |
| 14 | Дагестанская АССР | 35 | 50 |
| 15 | Ивановская обл. | 24 | 36 |
| 16 | Иркутская обл. | 20-25 | - |
| 17 | Калининградская обл. | 15-18 | - |
| 18 | Калининская обл. | 13 | 19 |
| 19 | Калмыцкая АССР | - | 28 |
| 20 | Калужская обл. | - | 25 |
| 21 | Камчатская обл. | 26 | - |
| 22 | Карельская АССР | 8 | 13 |
| 23 | Кемеровская обл. | 2 | 18 |
| 24 | Кировская обл. | - | 31 |
| 25 | Коми АССР | - | 110 |
| 26 | Костромская обл. | - | 18 |
| 27 | Краснодарский край | 10 | 15 |
| 28 | Красноярский край | 30 | 50 |
| 29 | Курская обл. | 20 | 30 |
| 30 | Куйбышевская обл. | 18 | 27 |
| 31 | Липецкая обл. | 15 | 25 |
| 32 | Марийская АССР | 17 | 35 |
| 33 | Мордовская АССР | 9 | 9 |
| 34 | Московская обл. | - | 41 |
| 35 | Мурманская обл. | 70 | 106 |
| 36 | Новгородская обл. | 35 | 60 |
| 37 | Новосибирская обл. | 20 | 36 |
| 38 | Омская обл. | 20 | 40 |
| 39 | Оренбургская обл. | 12 | 22 |
| 40 | Пермская обл. | - | 48 |
| 41 | Приморский край | - | 26 |
| 42 | Сахалинская обл. | 6-8 | 10-12 |
| 43 | Северо-Осетинская АССР | 10 | 24 |
| 44 | Смоленская обл. | 7 | 11 |
| 45 | Ставропольский край | - | 14-21 |
| 46 | Тамбовская обл. | - | 10 |
| 47 | Татарская АССР | 15 | 32 |
| 48 | Томская обл. | 4 | 7 |
| 49 | Тульская обл. | - | 20-35 |
| 50 | Тюменская обл. | - | 4-6 |
| 51 | Удмуртская АССР | 16 | 28 |
| 52 | Хабаровский край | 9 | 14 |
| 53 | Чечено-Ингушская АССР | - | 10-12 |
| 54 | Якутская АССР | - | 20-30 |
| 55 | Ярославская обл. | 14 | 21 |
| Эстонская ССР | |||
| 1 | Таллин | 16 | 28 |
| 2 | Нарва | 12 | 17 |
| 3 | Иыхви | 21 | 31 |
| 4 | Вяйке-Маарья | 36 | 49 |
| 5 | Куузику | 14 | 17 |
| 6 | Хельтерма | 10 | 16 |
| 7 | Тоома | 26 | 40 |
| 8 | Тийрикоя | 16 | 22 |
| 9 | Тюри | 14 | 26 |
| 10 | Виртсу | 11 | 14 |
| 11 | Пярну | 13 | 19 |
| 12 | Вильянди | 14 | 22 |
| 13 | Тарту | 16 | 20 |
| 14 | Кингисепп | 12 | 19 |
| 15 | Выру | 12 | 18 |
| 16 | Валга | 13 | 15 |
| Латвийская ССР | |||
| 1 | Айзпуте | 13 | 20 |
| 2 | Лиепая | 10 | 16 |
| 3 | Колка | 3 | 5 |
| 4 | Стенде | 14 | 17 |
| 5 | Вентспилс | 3 | 6 |
| 6 | Бауска | 10 | 11 |
| 7 | Айнажи | 4 | 7 |
| 8 | Руиена | 16 | 19 |
| 9 | Салдус | 16 | 26 |
| 10 | Елгава | 7 | 12 |
| 11 | Рига | 10 | 15 |
| 12 | Скривери | 18 | 33 |
| 13 | Залани | 14 | 24 |
| 14 | Гауя | 9 | 13 |
| 15 | Приекули | 14 | 18 |
| 16 | Прибалтийская стоковая | 16 | 32 |
| 17 | Гурели | 30 | 50 |
| 18 | Виляка | 12 | 22 |
| 19 | Резекне | 15 | 22 |
| 20 | Дагда | 13 | 20 |
| 21 | Даугавпилс | 7 | 11 |
| БССР | |||
| 1 | Езерище | 18 | 28 |
| 2 | Верхнедвинск | 9 | 15 |
| 3 | Шарковщина | 16 | 21 |
| 4 | Витебск | 20 | 27 |
| 5 | Полоцк | 10 | 14 |
| 6 | Докшицы | 26 | 34 |
| 7 | Лынтупы | 13 | 29 |
| 8 | Орша | 22 | 29 |
| 9 | Лепель | 16 | 25 |
| 10 | Горки | 25 | 38 |
| 11 | Борисов | 22 | 33 |
| 12 | Могилев | 24 | 37 |
| 13 | Березино | 22 | 30 |
| 14 | Минск | 23 | 37 |
| 15 | Костюковичи | 23 | 34 |
| 16 | Славгород | 21 | 27 |
| 17 | Марьина Горка | 28 | 41 |
| 18 | Новогрудок | 29 | 55 |
| 19 | Лида | 18 | 25 |
| 20 | Гродно | 10 | 13 |
| 21 | Жлобин | 16 | 30 |
| 22 | Бобруйск | 21 | 32 |
| 23 | Слуцк | 14 | 18 |
| 24 | Барановичи | 16 | 20 |
| 25 | Ивацевичи | 10 | 16 |
| 26 | Волковыск | 20 | 31 |
| 27 | Гомель | 29 | 37 |
| 28 | Василевичи | 14 | 18 |
| 29 | Мозырь | 18 | 23 |
| 30 | Пинск | 11 | 14 |
| 31 | Пружаны | 17 | 21 |
| 32 | Брест | 11 | 18 |
| 33 | Брагин | 11 | 16 |
| 34 | Житковичи | 14 | 23 |
х) Количество дней с гололедом в году приведено по данным дорожно-эксплуатационных служб и метеостанций за последние 5 лет.
| Предисловие . 1 Общие положения . 1 Основные строительные свойства бетонов с добавками кремнийорганических соединений . 2 Требования к добавкам .. 3 Технология приготовления бетонных смесей с добавками кремнийорганических соединений . 4 Область применения добавок . 6 Техника безопасности . 7 Приложение. Количество дней с гололедом в году в краях и областях РСФСР, двух прибалтийских республиках и БССР . 7 |